實例分析自飽和電抗器的應用(上) 摘 要:從穩流、調壓及直流繞組的I作原理出發,論述了自飽和電抗器的基本物理性钷,闡述了本單位自飽和電抗器改造關鍵參數的選擇計算及成功的改造實踐。
1、概述 在電化學生產工藝過程中,由于電網電壓的渡動,電解槽端電壓的變化或需對電解槽數目增減等原因、導致實際電解電流值偏離理想電流值。因此.必須及時調整整流裝置的輸出電壓以達到穩流的目的.現在廣泛采用的方式有幅值調壓(有載調壓)及相位調壓(自飽和電抗器及晶體管調壓)。
整流裝置配備的調壓變壓器,具有調壓范圍大和二次輸出電流恒定這樣兩個基本特點,為了滿足一定的調壓范圍,調變的基本繞組和調壓繞組之間,通過有載開關、無載開關的不同組合實現特定的電路接線模式。
對自飽和電抗器的調壓范圍。有如下要求: 1.1 在有載分接開關的直流級差電壓范圍內起細調作用。 1.2 不小于有載分接開關的兩個直流級差電壓 以減少有載開關的動作次數。 1.3 校正由于電同電壓的短時波動所 『起的直流電流波動。 1.4 校正平衡機組間或同機組各整流柜間的負載分配不勻。 2 改造前現狀簡介 我公司鋁冶煉廠整流所為825V、60kA 整直系統、整流變壓器采用ZHSPTKB-53000kVA/1lokV直降、主串變調壓方式.有載恒磁通調壓。調壓范圍為l0 ~105 。有載開關采用德國MR公司、M Ⅲ500型27級有載開關,中間增加一個無載倒段開關,組合而成可調54級。整變低壓出線側串有自飽和電抗器60V,低壓線圈采用雙Y、雙△ 接線,并增設了Y、△ 平衡自飽和電抗器40V,為了抑制高次諧波量,單臺變壓器整流12相,三組調變一次側各移相一100,+lO。。三組并聯運行時可實現等效36相,硅整流柜采用ZHS-35000/825V三組六臺,單臺設計電流17500A。
該系統自1987年投入運行以來,在主回路硅柜及穩流系統中存在很多問題,不能達到設計要求。近幾年連續出現幾次事故,嚴重影響了電解安全生產。原系統的制造廠家在平衡、穩流方案選擇上拘泥于理論上的周全完善,但沒考慮能否在生產上實用。穩流選用了三個(PID)調節系統,引入了左右柜電流及其左右柜差值等三個互相聯系又互相矛盾的反饋量。此控制方法在飽和電抗器這樣的大慣性調節系統中是找不到穩定區域的,總是處于變化狀態。在手動和自動調壓過程中,多次出現壓敏電阻、可控硅元件、線路端子擊穿,平渡電抗器在435A電流以上即出現嘯口q、剛烈震動等情況 平常操作只能手動穩流,且線性度太陡.不能達到平滑調整電流的目的.控制電流離10~20A 的線性區相去甚遠,平波電抗器電感值偏小阪為24×2mH,換相時感應電壓峰值過高.現場實測感應電壓峰值要大于5000V。
為了減少改造投資. 盡量利用原設備,我們與設計院和制造廠家充分協商,決定對六臺ZBK-5052/10×l0+6o自飽和電抗器進行改造.主導思想是充分利用原設備設計容量大.調壓范圍大的特點,減少控制和位移繞組的匝數,增大控制電流,以達到平穩調壓的目的。自飽和電抗器穩流系統的改造采取如下方案。 2.1 每組整流裝置平衡繞組采用一套手動控制裝置。 2.2 每臺單柜自飽和電抗器控制繞組及位移繞組均獨立控制,位移繞組僅設手動控制。控制繞組設手動和自動兩部分并可相互切換。
3 自飽和電抗器的工作原理 自飽和電抗器是磁化電抗器的一個分支,是磁放大器的一種類型。磁放大器的作用原理是基于直流磁化時.其鐵心上的導磁率 ( —B/H)要發生變化,當交流繞組(工作繞組)的電阻為R~,電感為I 時.交流回路的電流I~可用下式表達。

從以上兩式可以看出,交流繞組的負載電流I~ 決定于磁路的導磁系數,即設法改變值,就可達到調節負載電流的目的。為了增大自飽和電抗器的電壓調節范圍.一般電抗器由三個繞組組成.即工作繞組,控制繞組和位移繞組見圖l。

工作繞組是飽和電抗器的主繞組,但如僅有工作繞組而無控制繞組,則初始磁密B。一0,磁密變化量等于飽和磁密(~B-B ), 因而飽和角為某一定值而不可調。控制繞組的作用在于.當調節控制繞組電流時,能調節鐵芯初始磁密B。值,從而使磁通變化量AB—B -B.飽和角和工作繞組電抗均可控。但如控制繞組電流只能作單方向數值的調節,1 =0時.B。一0.AB=B 一B。一B .在這種情況下,飽和角(即控制角 )調節范圍有限,不能大范圍調節。
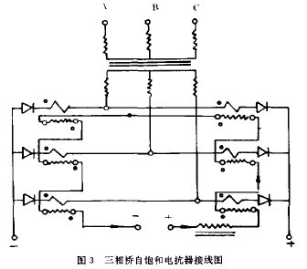
為了充分利用鐵芯磁化特性,增大調壓范圍.使~B-B 一(一B )一2Bb,則必須使H從+H 變到一H ,相應地使控制繞組電流從+T 變到一T .因此通常在自飽和電抗器上增設位移繞組.在其直流磁勢作用下,鐵芯予先達到飽和狀態,這樣可以在單方同調節控制繞組電流值時.能得到最大控制角。飽和電抗器三種繞組的安匝關系見圖2。當1 一0時,若位移繞組的安匝使鐵芯已在飽和點(此時B0=氏).在工作繞組開始導電時.其安匝極性與位移繞組安匝同方同,則芯完全飽和,于是控制角 0,調壓深度AUd=0。當控制電流從0向一2I 方向增大時,自飽和抗器初始磁密B0以+B 到一B 之間變動,1 1昕以當1 W 一-I w 時,鐵蕊磁通變化的量為告△=B ,調壓深賽為△ud=寺△u 而當控制繞組安匝為一2I w 時.則調壓深度為最大AUd=△U 。三相橋式電路自飽的電抗器和接線,如同 r代麗出一組控制繞組)。

|